New patent by Toyota shows electric or hybrid body-on-frame vehicle
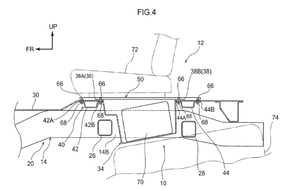
Could Toyota be planning an electric or hybrid truck in the future? It seems possible as a patent filing made by Toyota has been discovered. From the image, one can be lost trying to find out what part does what. Even the title 'Redesigned framework structure of a body-on-frame vehicle', appears to a standard idea for a patent that any automaker could make.

These days, body-on-frame vehicles are usually reserved for pickups and SUVs, such as Toyota's Hilux. It is only in the fine print details where the more interesting information comes up, hinting at a possible electrified pickup truck or SUV from Toyota.
The patent talks about a redesigned frame in order to hold a battery unit around it. Furthermore, it also says 'there is still a room for improvement of a structure that protects a battery unit (a battery) in a collision of a vehicle (a body-on-frame vehicle)'. What is really attention grabbing in the patent is the statement 'Although the type of vehicle is not particularly limited herein, typical examples include a plug-in hybrid vehicle (PHV), hybrid vehicle (HV), and electric vehicle (EV)'.

For those not in the know, Toyota did build a hybrid pickup before called the A-BAT concept (pictured above). Given that the filing was made in December 2016, it could be that Toyota is already in the works with an upcomming electricfied pickup truck.
As a disclaimer, do note that not all patent filings ever see production or turn into reality. It does however give us a glimpse of what the Japanese automaker is planning for the future.

