Toyota files patent for an electric supercharger
Images of a patent filed by Toyota reveals that the company is apparently working on an electric supercharger. Since the patent only shows the electric supercharger, speculations are going around as to whether it would be used on the upcoming Toyota Supra.
For those that do not know, electric superchargers use stored energy to make the supercharger spin faster therefore allowing boost to build more quickly while eliminating extra strain on the engine.

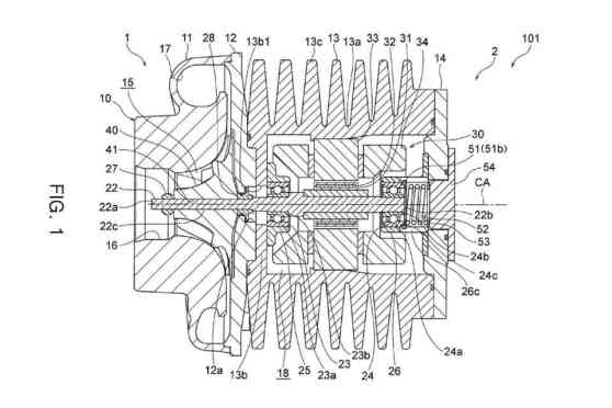
To sum up what was described in the patent; Toyota will be using their self-developed version of an electric supercharger. It would then be more durable and provide higher performance when spinning at a higher speed, specifically by using coil springs rather than conventional plate springs. By switching to plate springs, it would make building the supercharger much easier.

Toyota originally filed the design in May 8, 2015. However, it was not until March 22, 2017 that the United States Patent and Trademark Office published it. Given the duration since the time of filing, it would seem as though Toyota could begin incorporating it into vehicles soon, if not already.

The news of Toyota fiddling with superchargers would not be something new though, as can be seen with the supercharged Yaris GRMN. That in mind, the upcoming Supra could also benefit from the tech. With only rumors to go about, we can only wait as to which vehicles the tech would end up in.

