US patent gives us first glimpse at Mazda's new rotary powerplant
Mazda’s unveiling of the RX-Vision concept at last year’s Tokyo Motor Show gave plenty to talk about with its beautiful design and edgeless body. While many were raving at the sight of this new machine, faithful fans of the brand know that the car signifies Mazda’s dedication to developing the only motor that should be found in that car: a Wankel Rotary engine. Dubbed the ‘Skyactiv-R’, little else is known about the motor other than the fact that it does not have pistons. Now however, it appears a US patent filed by Mazda sheds a little light into the potential design of the next generation rotary.
In a report released by the USPTO on March 24, 2016, U.S. Patent 20160084158 is documented as a “Rotary Piston Engine mounted on Vehicle” filed by Mazda last December 2015. How is this engine any different from the typical rotaries found in older Mazdas though?

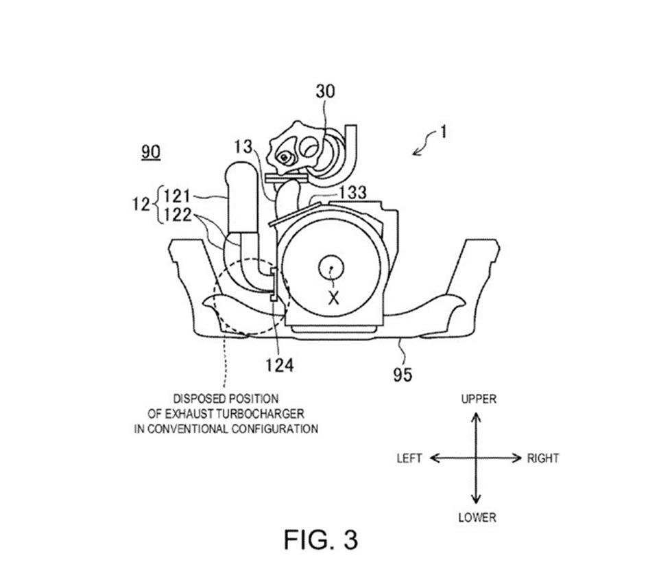
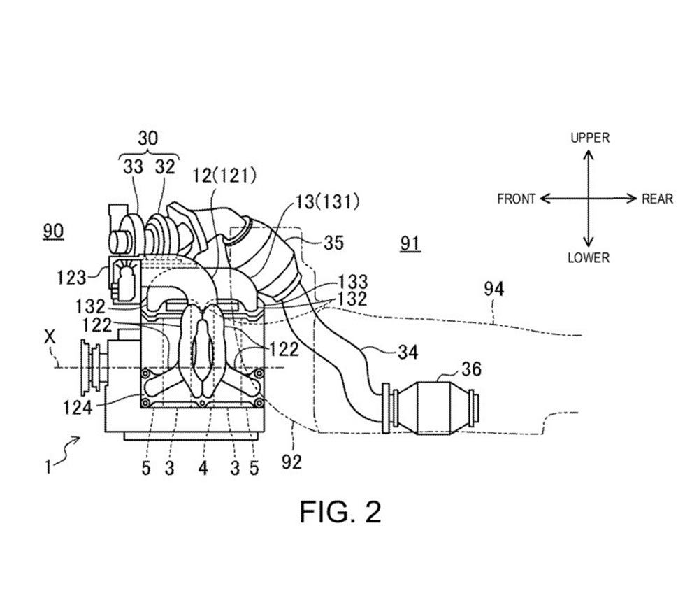
Well, you could say that Mazda have turned the rotary engine upside down on its head… Literally. Tilting the whole motor a full 180 degrees, its intake port will be at the bottom of the engine while its exhaust port stands on top. Doing this allows the intake manifold to be longer – thereby generating more much-needed torque – and the exhaust manifold and turbo packaging to be much more shorter and compact.
Shorter exhaust piping will allow hot gas to exit through the engine faster, thus reducing the rotary engine’s inherent cooling issues. Speaking of the turbocharger, it’s also set to be mounted on top of the manifold, allowing its position to take advantage of the short manifold piping, resulting in optimum response and reduced lag.

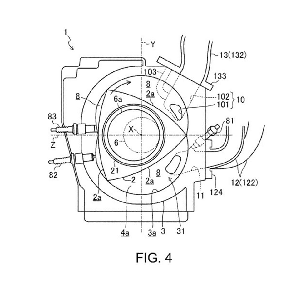
The patent application has a provision that states the intake has a common passage and independent passages that supposedly translates into an advantage “in obtaining a dynamic forced-induction effect caused by an inertia effect.” Another quote worth noting is one about the exhaust manifold “having independent passages and a manifold passage. A length of the exhaust passage becomes comparatively short, and thus, a passage resistance in the exhaust passage can be decreased.” What could all these technical jargon mean?

One thing’s for sure though, it appears Mazda is dead serious about making the rotary engine more than just a conveniently small motor. Judging from the diagrams in the patent, it looks like they’re out to make the most out of the new rotary powerplant’s performance. Looks like Mazda’s developers have a lot of work cut out for them.

