Ford patents possible 11-speed automatic transmission
Ford Motor Company is reportedly eyeing on releasing an 11-speed automatic transmission according to a document released by the U.S. Patent and Trademark Office.
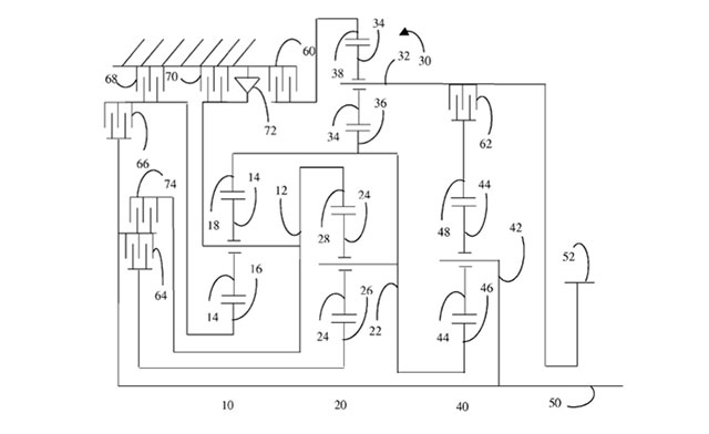
From the document itself, the automaker has laid out three possible plans for the aforementioned gearbox and will be comprised of different types of clutches, brakes and gears.
The first embodiment will consist of four simple planetary gears paired with four clutches and two brakes while the second one will have two axis transfer gear pairs with three planetary gear sets, four clutches and two brakes. The last example will consist of four planetary gear sets, four brakes and two clutches.

Officially though, the company has only stated their plan on making a 10-speed automatic gearbox that will be used in the 2017 Ford F-150 Raptor. Paul Seredynski, Ford Powertrain Spokesman did not confirm if the automaker is indeed working on an 11-speed transmission.
“As a technology leader, we submit patents on innovative ideas as a normal course of business. Patent submissions help protect our new ideas but do not necessarily indicate future business or product plans,” said Seredynski.
Source: AutoGuide

