Mercedes-Benz external airbag aimed to protect pedestrians
The last thing a pedestrian wants to happen to them is be hit by a vehicle. In fact, no one wants to be hit by a car as these are usually unsurvivable depending on the speed. However, pedestrian collisions could soon be made more survivable with Mercedes-Benz's latest patent, external airbags.
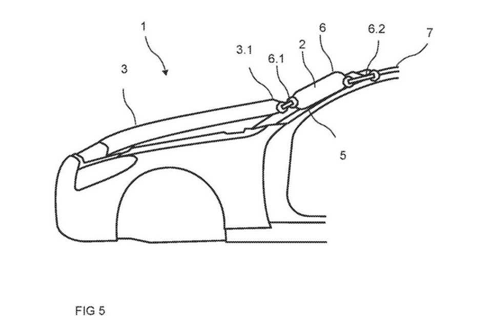
A new patent filed by the German automaker was recently published by the United States Patent and Trademark Office. The illustration on the patent shows airbags deploying from the A-pillar along with the hood popping up to further minimalize damage from hard hits. This system would then be monitored by sensors located on the front to detect collision.

Instead of using a standard airbag, the new airbags would be fitted inside a fabric tube. To keep the car's sleek design, covers would be placed over it, making them invisible when not deployed. As seen in the illustrations, one end of the airbag is attached to the top of the A-pillar and the other on the tip of the hood. The design ensures that the person would collide with a softer material instead of metal or windshield glass, which would cause more injuries.
Daimler AG initially filed the patent back in July of 2015. However, it was only published by the United States Patent and Trademark office on August 3 this year. As two years have already passed, it could be that Mercedes has already developed this system enough to be implemented on vehicles soon. When it does get implemented, pedestrians will have a higher chance of surviving collisions with vehicles that have this feature.

