Mazda could be building another engine aside from the Skyactiv-X
Recently, Mazda has announced plans for a new revolutionary engine that relies on high compression for ignition called Skyactiv-X. The said engine will reportedly combine mileage of a diesel engine and the clean output of a gasoline engine; set to be introduced in early 2019. However, a recent patent discovery by Road and Track leads us to believe that the Skyactiv-X may not be the only engine the Hiroshima automaker is working on.
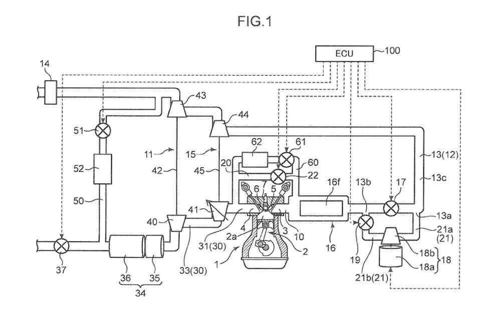
Published by the United States Patent and Trademark Office on August 17, it showcases a gasoline engine that uses two turbochargers and an electric supercharger. The turbos and supercharger work parallel in order to obtain maximum power output.

Called 'Supercharging Device for Engine', reading the text in the application says that the electric supercharger would provide bottom end power, while the twin-turbo would provide top end output. The concept is similar to twin-charging an engine, wherein a turbo and a supercharger work together to have a better powerband.
For those who do not know, turbochargers are usually laggy and work best above a certain rpm as exhaust gasses build up. Meanwhile, a supercharger works best at the bottom end, but usually loses efficiency once the rpm increases. Having a twin-charged setup would theoretically cancel out the negative effects of both setups, creating am efficient and powerful engine.

Apart from the engine setup, the patent also states that the engine will be used for rear-wheel drive applications. At the moment, Mazda's only rear-wheel drive vehicle is the MX-5. It seems unlikely that the MX-5 would use the engine, but possibly be reserved for another upcoming rear-drive model.
Like most patents, it is possible that this engine will not over see production. It also remains uncertain whether this engine is related to the Skyactiv-X as both of them are supercharged. Regardless, we will have to wait and see what Mazda is up to.
Source: US Patent and Trademark Office via Road and Track

