Mazda patents rear spoiler that retracts into the taillights
At the upcoming Tokyo Motor Show, Mazda is slated to introduce a rotary powered concept yet again - a car that will act as successor to the ever popular RX-7 and RX-8. So far, no details regarding the upcoming rotary concept have surfaced apart from it likely being an updated version of the RX-Vision. Now, a new patent filed by Mazda could be giving us an early preview on one of the rotary concept's features, a rectracable rear wing.

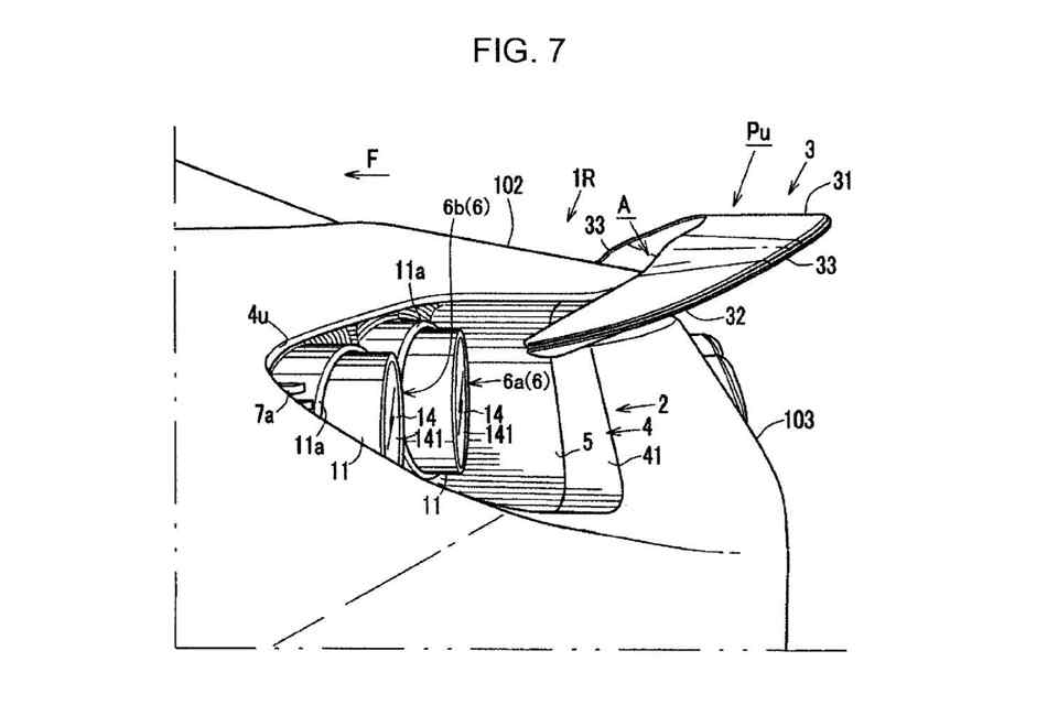
Now, a retractable rear wing is nothing new as most sports car manufacturers have been using it for some time already. However, Mazda has yet to implement that design on any of its own vehicles. Furthermore, what makes Mazda's retractable wing unique is its design. Unlike most which simply hides under a panel when not in use, Mazda's retracable spoiler hides in a recess in the taillights. It would then extend outward and upward rather than just rising up.

Mazda sees the design of this spoiler as a means to improve aerodynamics at the rear as well as improving the vehicle's aesthetics when it is not needed. The length of the wing would then span the width of the rear, even running past the width of the vehicle's taillights. Despite its length, the retractable is designed in such a way that it won't obscure vision. Controlling the wing would be a powered arm, which allows the wing to both extend and slant upwards when needed.

If the design of the patent looks familiar, it is because the RX-Vision also has a similarly designed taillight and spoiler. Both feature a small thin wing running the length of the rear with four round rear taillights, further hinting that this patent could be used on an updated version of the RX-Vision.
Given that Mazda does reveal a revised version of the RX-Vision, we may soon see a demostration of this feature together with the rest of the next-generation rotary powered sports car.

