New engine aims for more efficiency during cylinder deactivation
Being one of the basic rules of engine since the first internal combustion engine came out, computing for cylinder displacement has been a pretty straightforward affair. It is as simple as knowing the overall volume your engine is capable of pushing (i.e. 2,000cc) and dividing it by the number of cylinders. Now, let's say our 2,000cc motor has 4 cylinders to split work between. Normally this means that each cylinder would have 500cc of volume to work with, but it seems Honda has come up with an engine that would make some cylinders bigger than others.
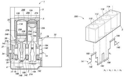
Instead of having 2,000cc split into four 500cc's like our conventional example above, Honda's new patent shows a motor that will also achieve that displacement sum, but with cylinders scaled in sizes like 300, 425, 600, and 675cc. The idea behind having the cylinders scaled in size is that the engine could be more efficient during instances when cylinder deactivation will be used.
By having cylinders of various sizes, Honda's new motor will be more flexible with selecting the necessary displacement for certain situations when cylinder deactivation is activated. That said, the motor allows for finer adjustability when it comes to power and efficiency during cylinder deactivation.
In order to achieve the varying cylinder displacements of their new engine, Honda's patent shows that the key to achieving this is through the motor's crankshaft. Having a crankshaft with varying crank throw radii allows certain cylinders to have longer strokes than other cylinders in the motor. This will supposedly result in different displacement volumes, all while having the same bore sizes for all cylinders.
Concerns over the motor's balance given the different sizes in play were addressed in Honda's patent, wherein they say that the cylinders must have a specific arrangement to retain balance and lessen vibration. From what can be interpreted from the patent, the largest cylinder will be placed in the middle of the motor, with the succeeding smaller cylinders placed alternately to reduce vibration.
The patent is supposedly intended for multi-cylinder inline and V-shaped motors, and while the patent has been filed since March 2014, it has only been published this year. Whether or not this makes production is still a big question, but judging from the potential benefits of this design, it does seem promising.

