Patent for roof-mounted battery pack filed by Ford but is it practical?
Here in the Philippines, electric vehicles (EVs) are slowly (but surely) gaining some popularity among car owners, especially with the recent passage of laws that make owning one a bit more encouraging compared to a few years ago.
It’s all and good when an EV owner will only drive his zero-emissions car within Metro Manila. But how about when driving it farther like in Baguio or Vigan? The dilemma is the same: battery range and the availability of charging stations. While some manufacturers guarantee that their EVs can reach far-flung destinations, some EV owners still dread range anxiety.
In the US, Ford Motor Company is looking to solve these by designing an auxiliary battery pack on their EVs which will be mounted on the roof.
In a recent publication of the United States Patent and Trademark Office (USPTO), Ford filed for an “Electrified Vehicle Roof-Mounted Battery Backup” patent. It was originally filed in December 2021 but was only published in June of this year.

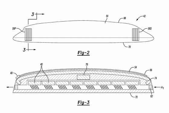
The design is pretty straightforward: an additional set of batteries will be carried on the roof of the vehicle as you would on a roof rack. The additional set of batteries will extend the range of the EV, especially when charging stations are unavailable. While the patent application didn’t provide further clues on how it would be activated, its purpose is, obviously, to supplement the main battery pack.
An additional image also suggests that the housing of the roof-mounted battery pack incorporates some cooling channels and some shaping to make it aerodynamic.
While this design looks promising, the patent filing doesn’t necessarily mean that will be making its way to the production floor. Also, putting batteries on the roof of the EV will definitely make it top-heavy and will be prone to rollover, and will likely put more stress on the vehicle due to its weight. There's also the risk of the roof-mounted batteries getting damaged and increasing the possibility of an EV fire.
If indeed this will make it into production and find its way here in the country, just make sure to register it with the LTO, or else, get flagged down by traffic enforcers and hear this many times from law enforcers: “boss, bawal po top load.”

