Ford's future line of autonomous vehicles could come with a retractable table with built-in airbags
Ford is serious about introducing self-driving cars that are not only intelligent, but are safe to be in as well. Recently, the Blue Oval brand reportedly filed a patent for a retracatable table that will have built-in airbags that will cushion passengers in an event of a collision.
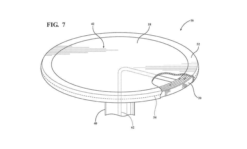
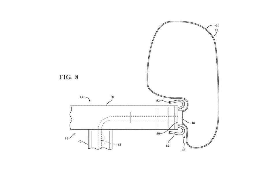
Based on the patent's design, Ford's idea of the safety feature appears straightforward. Inside, the autonomous vehicle has seating for multiple individuals, with the center portion housing the retractable table. When deployed, the table can act as a coffee table where occupants can place their personal belongings or even hold a board game.

The airbags themselves are placed on the edge of the table which can immediately deploy should the autonomous car be involved in an accident. This will soften the blow for the passengers inside the vehicle and keep the passengers from hitting the table.

It's important to remember that patents do not automatically mean that these kind of technologies will make it into production immediately. Think of these as ideas that manufacturers want to keep for themselves for future use in case the means to build them have been made available. So far, Ford has yet to test a self-driving car that features a lounge-like interior.

